随着科学技术的进步和产品的技术更新,工业阀门的需求已有显著变化,蝶阀的使用已从低压供水发展到高温、高压、耐磨、耐腐蚀等领域。大量通用切断和调节类阀门已被多层次金属硬密封蝶阀所取代,该阀采用三偏心密封结构,吸收国外同类产品结构特点,适用于各总管道上,作截止或调节介质流量之用。其结构特点有:重量轻、结构紧凑、开启迅速、密封性能可靠、轻便省力、使用寿命长和维修方便。该蝶阀广泛应用在电力、冶金、石油、化工、煤气、城市供热等行业。
硬密封蝶阀的设计原理如下:
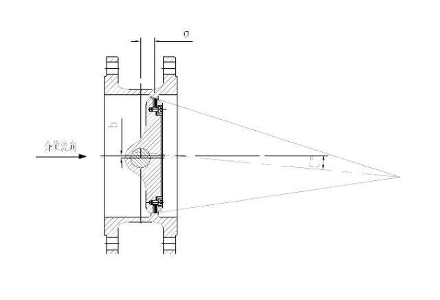
1、阀体、蝶板密封面形状为椭圆锥形,阀体、蝶板密封锥面的中心线与阀体通道中心线有一偏心夹角c°。
2、阀体、蝶板密封面的中心线与阀杆轴有一个轴向偏心距a。
3、阀杆中心线与阀体中心线有一个径向偏心距b。(如图)

4、图示偏心的存在使得蝶板密封面同阀体密封面在启闭过程中不发生磨擦,使用寿命长。
5、采用三偏心密封结构,关闭时具有越关越紧的功能,密封性能可靠。
6、蝶板上的密封圈由不锈钢薄板与柔性石墨压合而成,即具有金属的刚性,同时又具有非金属的弹性,这样一软一硬组合成的密封圈使的阀门密封性能大大提高(迷宫式密封)。同时当向阀杆施加扭矩时,密封圈与阀座产生弹性楔块效应,使得密封圈发生弹性径向压缩,从而用小的扭矩实现严密的切断。并且密封圈位于蝶板上,不需拆卸阀门便可更换密封圈。
7、蝶板、阀座之间通过“渐进式样”自补偿来保持始终不变的密封效果(即越关越紧),无夹持。即密封副磨擦后,可以通过蝶板位置的推进来补偿。蝶板、阀座之间不存在卡阻、挤压,阀门的密封性不受温度变化的影响。
8、因密封面锥角小于密封材料的摩擦角,蝶板关到密封位置时立即实现自锁,并能承受一定的反向压力冲击;当阀门承受逆向压力时,由于偏心b的存在,使的阀门有开的倾向,这样首先要保证阀杆的刚度才能使的阀门密封圈维持原位不动,所以双向阀门设计采用阀杆直径远大于单向阀门阀杆的所需直径,再则通过蜗轮驱动装置向阀杆施加扭矩抵消逆向承受的压力,从而达到双向密封的效果。
9、蝶板刚度好,在阀板全关位置时,能阻止密封圈过度变形而损坏整个密封副引起的阀门泄漏。